Die elektromagnetische Induktion in Experimenten


Historisches Experiment rotierende Kupferscheibe Hufeisenmagnet


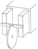
Eine weitere von Faraday beschriebene experimentelle Anordnung bestand aus 450 Magnetstäben, jeder 15" lang, 1" breit und 1/2" dick. Sie waren in einem Magazin untergebracht und erzeugten ein starkes Magnetfeld, in dem sich eine Kupferscheibe von 12" Durchmesser drehte (siehe nebenstehendes Bild). Dabei beobachtete Faraday, dass zwischen der Scheibenachse und der Peripherie eine Spannung auftrat.
Auch diese Anordnung läßt sich leicht mit schulischen Mitteln nachgestalten. Eine Kupferscheibe von etwa 15 cm Durchmesserwird mit einem Experimentiermotor in schnelle Rotationsbewegung versetzt. Zur Erzeugung des Magnetfeldes dient ein Hufeisenmagnet. Die Spannung wird mittels Blattfedern zwischen der Scheibenwelle und ihrem äußeren Rand abgegriffen (siehe untenstehendes Bild). Sie liegt je nach Drehzahl der Scheibe und magnetischem Fluß des Magneten bei etwa 10 mV.
Die zuerst beschriebene experimentelle Anordnung Faradays führt direkt zur Formulierung des Induktionsgesetzes in der Form, die in der Schule üblich ist. Beim zweiten Experiment kann die Lorenzkraft zur Erklärung des Auftretens einer Induktionsspannung herangezogen werden.

zurückweiter